HW2 Solution
Junho Song (with a note from Paul Resnick)
Oct. 11, 1999
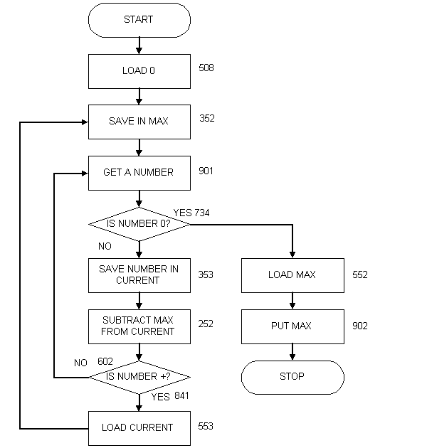
FLOWCHART

RUN SCREEN

RUN SCREEN (Note: The first number is zero and the program stops right away.)

Explanation Exercise
The followings are typical modern operating system functions.
[A note about writing up your explanation exercises: your writeup should document both your understanding of the technical concept(s) and your techniques for explaining the concept(s) to a less technical audience. So, a good answer for this Operating system explanation might have been:
"I explained operating systems to my grandmother, who just got her first computer. I told her about all the things that an operating system does that make it easier for programmers to make application software (like word processors and spreadsheets). She wasn't too interested in virtual memory or the file system, but I showed her how you can have two applications running at the same time and switch between them, and even have one doing some work when it's not showing on the screen. She understood intuitively about multitasking because she was trying to cook dinner and read the paper while she listened to my explanation."
]